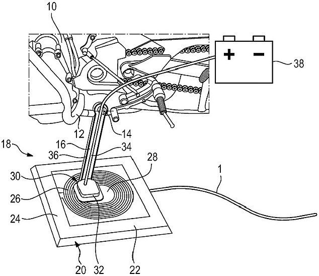
BMW продемонструвала інноваційний підхід до бездротової зарядки для електричних мотоциклів. В отриманому компанією патенті описано вмонтована в дорожнє покриття система, яка дозволяє зарядити акумулятор електричного мотоцикла, якщо поставити на неї підніжку.
Система складається з двох котушок — приймаюча вбудована прямо в підніжку мотоцикла, а віддає — в дорожнє покриття. У компанії вважають, що це дозволить підвищити ефективність заряджання порівняно з установкою котушки в нижній частині рами мотоцикла.
BMW вважає, що при регулярному використанні такої схеми власник автомобіля зможе не використовувати традиційну зарядку зовсім.
Згідно зі звітом Electrek, патентна заявка не містить інформації про те, як швидко система зможе заряджати батарею.
Незважаючи на те, що бездротова зарядка є звичайною функцією в мобільних телефонах, електричних зубних щітках і контролери відеоігор, вона залишається проблемою для електромобілів, тому що більшість транспортних засобів не мають провідного матеріалу, який міг би вступити в прямий контакт із зарядної майданчиком.
У минулому році компанія бездротової зарядки під назвою Momentum Dynamics оголосила, що надасть бездротові зарядні станції для невеликої кількості громадських автобусів. Ця технологія передбачає розміщення на шинах мідні приймачі енергії, які отримують заряд, коли вони знаходяться над електромагнітним полем, створюваним аналогічної подушкою, вбудованої в дорожнє покриття на кінцевих автобусних зупинках.
Компанія заявила, що при п'ятихвилинної зарядці на звичайній зупинці на пересадковою станції автобуси отримають достатньо електрики, щоб пройти додатковий маршрут.
Як правило, швидкості бездротової зарядки прямо пропорційно залежать від відстані між двома котушками. На відміну від автомобілів, мотоцикли мають явну перевагу завдяки своїм струмопровідним відкидним металевим стійок, які можна легко використовувати для отримання струмів з набагато більш близької відстані, ніж приймальні майданчики під автомобільними статями.
В 2018 році Kia оголосила, що розробила бездротову зарядну станцію для своїх електромобілів, але відмовилася представити її для широкої публіки.
Галузеві оглядачі припускають, що однією з основних перешкод для бездротової зарядки є те, що зручність відсутність необхідності підключати автомобіль або мотоцикл до стіни не варто значного збільшення часу зарядки.



